- オーナーズガイド
- / ケースのお手入れ
Make your case last a lifetime
使用上のご注意
ケースのお手入れ
本体素材ヴァルカン・ファイバーの汚れは、素材の柔らかい事務用のプラスチック消しゴム等で軽くこすることで落とせる場合もございます。
また、乾いた布に家具等に使用される一般の中性クリーナーを含ませて表面を拭き取っていただきましても、ある程度の汚れを落とすことができます。
何れの場合も、表面の塗装の風合いに影響を及ぼすこともございますので、目立たない部分で一度お試しになってからご使用ください。
レザー部分にご使用になられますと、シミや新たな汚れ等の原因となりますので、レザー部分に触れぬよう十分ご注意ください。
グローブ・トロッター ケースの表面は、撥水加工をしておりますが、完全防水ではありません。
雨中に放置などすると、本体の変形やフレーム、ロック部分を傷めたりすることがありますので、お気をつけください。雨水などで濡れた場合には、乾いた布で十分にお拭き取り下さい。
内容物の破損等により、ケース内に液体がこぼれた場合は、速やかに乾いた布などでお拭き取りいただき、風通しの良い日陰で十分に乾かしてください。
グローブ・トロッターの彩色は、使い込まれるにしたがって味わい深い風合いとなります。
しかしながら、強くこすられたり、特殊なクリーナーや防水スプレーをご使用されますと、色落ちや他の物への色の付着が生じることがございますので、ご注意ください。
また、シンナー、ベンジン、スプレー式クリーナーなど溶剤を含むものや防水スプレーの成分により表面の風合いを損なう場合がございますので、気になる場合にはご使用をお控え下さい。
ケースの保管方法
全てのスーツケースと同様にグローブ・トロッターケースは涼しく、換気の良い場所に保管ください。
直射日光が当たる場所や高温な場所、湿度が極端に高い場所に保管されますと、本体の変形や塗装に影響が出る場合がございます。
ビニール製品など熱で変形するものをケース本体に接して置かないようご注意下さい。ケース本体に付着し、塗装剥離などの原因となります。
ケースの状態を最大限に保つために、ケースの上や中に重い物を置いたまま放置されますと、素材の特性上、ケースが変形する場合がございますので、お気をつけください。
RAF100・Casablanca・カーボン製品
RAF100/Casablanca製品
・製品の表面に無垢のアルミニウムが用いられており、ご使用の頻度や使い方により購入時の製品イメージが変化していくモデルでございます。
・ベルトやバック等、また周囲の壁など表面の粗いものとの引っかかりにご注意下さい。
・指紋や手脂が取れない場合はアルミクリーナーをお使いください。
カーボン製品
・グローブ・トロッターが独自に開発した「エアロ・カーボン」を用いられており、ご使用の頻度や使い方により購入時の製品イメージが変化していくモデルでございます。
・指紋や手脂が付いてしまった場合には、柔らかい布に水を含ませて優しく拭き取ってください。強くこすると摩擦により艶が発生し、発生した艶は消すことが出来ませんので十分にご注意下さい。
・拭き取りの際に溶剤やアルコールなどを使用すると跡が残ってしまいますので、水以外はご使用にならないで下さい。
・ヴァルカン・ファイバーの下地があるため、大きく変形することはありませんが、過度な衝撃が加わるとエアロ・カーボンが割れる可能性がございます。
※何れの場合も、表面の塗装の風合いに影響を及ぼすこともございますので、目立たない部分で一度お試しになってからご使用いただくか、修理サービスまでご相談ください。
ロックのご使用方法
-
センテナリー / サファリ / オリジナルロック
ケースを開ける
開ける際は丸い鍵穴部分全体を外側にずらしてください。安全機能
スーツケースが誤って開くことを防止する為に、鍵穴部の外側を90°ひねることができます。左側のロック=反時計回り、右側のロック=時計回りにまわします。解除の際は反対方向にひねります。一時的な鍵の仮止め(鍵のスライド防止)にお使いください。ロックする / ロック解除
鍵は鍵穴に対して垂直に入れて、左側のロック=反時計回りに90°、右側のロック=時計回り90°回してください。カチッと音がします。鍵穴部分全体をずらしても動かなければ施錠の完了です。解除の際は反対方向に回します。※生産時期により鍵の仕様に違いがございます。360°回転し施錠するロックもございますので、ご不明な場合はご購入店までお問い合わせ下さい。
-
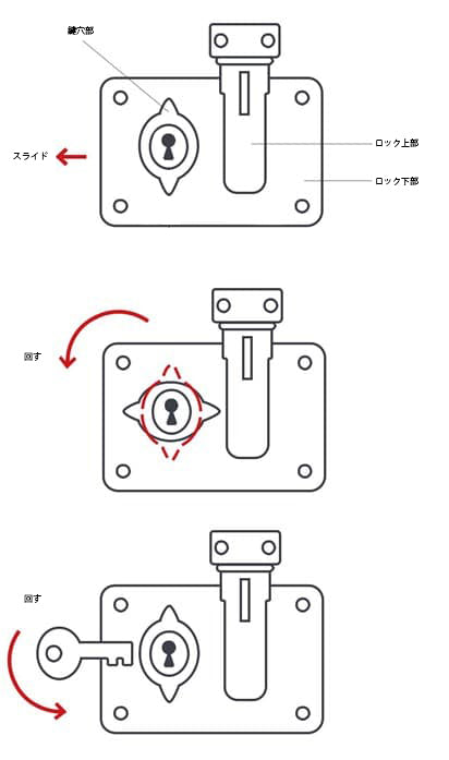
アタッシェ ロック
ケースを開ける
開ける際は鍵穴部分全体を下側にスライドさせてください。ロックする / ロック解除
鍵は鍵穴に対して垂直に入れて、カチッと反時計回りに360°回してください。カチッと音がします。鍵穴部分全体をずらしても動かなければ施錠の完了です。
-
コンビネーションロック
コンビネーションロックをセットする
1. 赤いピンを外します。
2. ご自分で覚えやすい3桁の数字をお決めください。(ご購入時は「000」にセットされています)。
3. 四角いボタンをダイヤルに向かって左にスライドさせてください。スライドさせたまま、もう片方の手でダイヤル数字を3桁の数字に合わせ設定します。
4. セットしたダイヤルが動かないように注意しながらボタンを離してください。こちらで希望する数字の組み合わせでロックが開くように設定されました。ケースを開く
1. ボタンを外側(右)にスライドさせます。
閉じる
1. ボタンを外側(右)にスライドさせ、ロック上部を押し込みます。ボタンのスライドを通常の位置に戻します。
-
レザー製品
温度・湿度の高い場所を避け保管してください。皮革製品は水気や摩擦等により、色ムラやシミ、色落ち等がある場合がございますので、ご注意ください。
表面に付着したわずかな汚れや水滴を取り除く場合には、湿らせた布または乾いた布で拭いてください。
色移り防止の為、濃色のレザーやスウェードは明るい色の衣服や生地との接触を避けてください。
メタリックレザーの場合、お手入れの際はアルコールを含む液体の使用を避けてください。表面のカラーや加工を損なう恐れがございます。
柔らかく湿った布で優しく汚れを拭き取り、すぐに乾かしてください。